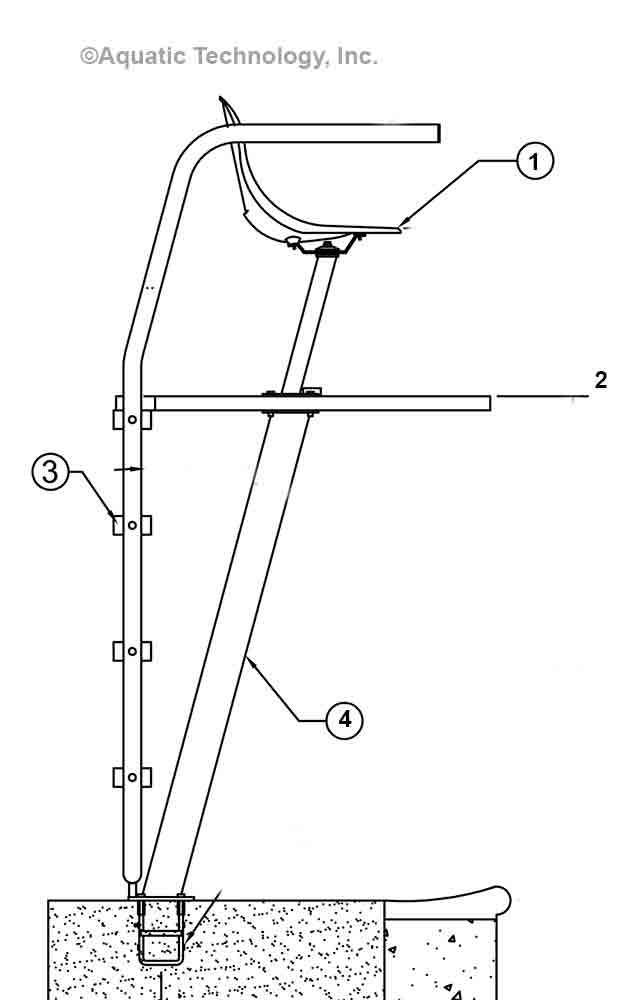
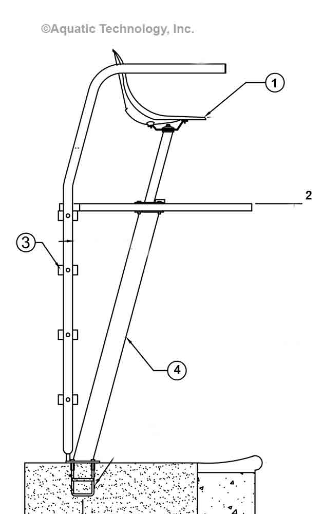
Paragon Paraflyte Club Lifeguard Chair Parts Diagram

Frequently Purchased
Any key items not listed on the above schematic are no longer available.
- Sort Products:
- Key
- Popularity
$117.39
$282.57
$333.97
$165.45
$1,336.57
$554.47
$182.46
$1,107.48
$88.80
$88.60
















