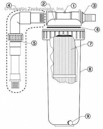
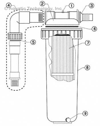
Pentair Predator II Mini-Cellular Filter Parts Diagram

Frequently Purchased
![]() |
Dynamic Vent Valve - R172224X | $11.25 | |
![]() |
Dynamic Series Lock Ring - R172214
84 in stock
|
$28.10 | |
![]() |
Generic Filter Union O-Ring - 1-1/2 Inch - 071426
2 in stock
|
$4.83 | |
![]() |
Dynamic Series 1 Lid Housing O-Ring - R172223
818 in stock
|
$1.96 | |
![]() |
Pentair Predator II/Dynamic IV DFM Filter Cartridge - 25 Square Feet - R172327
11 in stock
|
$71.02 |
Any key items not listed on the above schematic are no longer available.
- Sort Products:
- Key
- Popularity
$11.25
$28.10
$4.83
$1.96
$71.02
$8.72
$25.53
$21.54
6
Generic Cartridge Filter Lid and Leaf Canister O-Ring for C120, C200 and C225
1 in stock
Item #: APCO2157
$7.81















