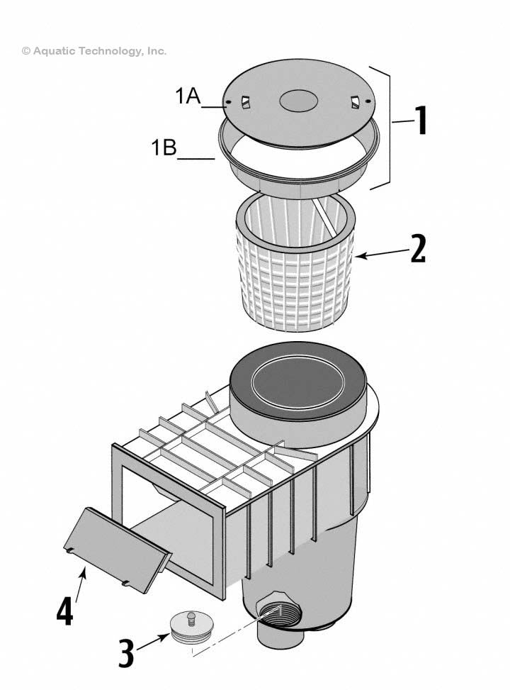
Sta-Rite U-3 Vinyl Liner Skimmer Parts Diagram

Frequently Purchased
![]() |
U-3 Skimmer Basket With Handle - 08650-0007
29 in stock
|
$18.22 | |
![]() |
U-3 Skimmer Weir Assembly - 08650-0022
10 in stock
|
$40.83 | |
![]() |
U-3 Skimmer Basket Handle - Brass - 08650-0067 - 08650-0067
38 in stock
|
$17.26 | |
![]() |
U-3 Skimmer Extension Collar - WC37-503P
59 in stock
|
$54.89 | |
![]() |
U-3 Skimmer Lid - White - 08650-0058
18 in stock
|
$38.01 |
Any key items not listed on the above schematic are no longer available.
- Sort Products:
- Key
- Popularity
$18.22
$40.83
$17.26
$54.89
$38.01
$41.84
$49.87
$50.27
$43.22
$40.16
$55.62
$9.40
$6.56
$34.68




















